Плиты дорожные 1ПШД 12 для покрытий городских дорог – это железобетонные элементы конструкций, применяемые в современном дорожном строительстве и предназначенные для устройства покрытий автодорог различной проходимости. Применение железобетона позволяет дорожным плитам выдерживать значительные автомобильные нагрузки. Купить плиты жби и проконсультироваться по общим вопросам покупки и доставки Вы можете позвонив по телефонам компании ГК БЛОК: #ttt
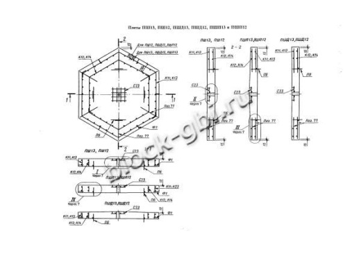
Железобетонные плиты дорожные 1ПШД 12 для покрытий городских дорог представляют собой массивные фасонные конструкции. Одна из плоскостей плиты, непосредственно контактирующая с колесами транспортных средств, имеет рифление для достижения эффективного сцепления с колесами транспортных средств. Рифление дорожных плит достигается путем заливки бетона в поддон, днище которого имеет ромбическое рифление глубиной не менее 1 – 1,2 мм. После уплотнения бетонной смеси на заводе-изготовителе производят обработку поверхности плиты дорожной с помощью капроновых щеток или брезентовой ленты с целью получения шероховатой рабочей поверхности.
Являясь крайне ответственными элементами конструкции, плиты дорожные 1ПШД 12 для покрытий городских дорог изготавливаются исключительно из тяжелого бетона средней плотности, армируемого сетками из стальных стержней. Морозостойкость и водонепроницаемость повышают с помощью пластифицирующих и воздухововлекающих добавок. Использование высококачественных дорожных плит может быть неоднократным, так как бывшие в употреблении бетонные плиты не теряют своих характеристик.
Изготавливаются железобетонные плиты дорожные 1ПШД 12 для покрытий городских дорог следующим образом: две сетки из арматуры укладываются в смазанную форму, которая затем заливается бетонным раствором. Для получения бетона повышенной жесткости понижают содержание воды и цемента в бетонной смеси. По мере наполнения раствор уплотняют при помощи вибрации для получения изделия повышенной плотности. Процесс изготовления завершается прогреванием в термокамере. Срок службы бетонных плит увеличивают за счет добавления в структуру бетона специальных наполнителей из гранитного или известнякового щебня.
В современном строительстве жби плиты дорожные 1ПШД 12 для покрытий городских дорог приходят на смену дорожному покрытию из асфальта. Связано это с очевидными преимуществами железобетонных изделий:
- Отличные эксплуатационные качества: прочность и отсутствие необходимости в ремонте. У бетонных дорог срок службы более сорока лет, тогда как асфальтированные дороги изнашиваются в течение десяти лет. Более того, во время эксплуатации бетонные плиты не нуждаются в регулярном ремонте, который требуется асфальтированным дорогам;
- Способность выдерживать значительные нагрузки. Бетон, оснащенный стальной арматурой, на сегодняшний день является самым прочным строительным материалом, поэтому, в отличие от асфальта, плиты дорожные не деформируются под весом прогоняемого по ним транспорта;
- Прочность бетона дает дорожным плитам еще одно немаловажное преимущество: устойчивость к перепадам температур и атмосферным осадкам. В отличие от асфальтированных дорог бетонные дороги не повреждаются и не разрушаются от экстремальных условий, которые могут быть вызваны атмосферными осадками: ливнями, обильным снегопадом, чрезвычайно высокими или низкими температурами;
- Транспортные средства, передвигаясь по бетонной дороге, потребляют на 15-20% меньше топлива, чем при движении по асфальтированной дороге. Это происходит в связи с тем, что дорога из бетонных плит не деформируется под колесами транспортных средств;
- Меньшее потребление топлива транспортными средствами при движении по бетонной дороге позволяет сделать вывод, что использование бетонных плит в строительстве дорог является с экологической точки зрения более целесообразным. К тому же, при мощении дорог асфальтом происходит сильное загрязнение воздуха (основной компонент асфальта, битум, производится из естественных производных нефти);
- Легкость и высокая скорость укладки бетонных плит. При использовании дорожных плит из железобетона нет необходимости ждать несколько недель, пока дорожное строительство будет завершено – использовать покрытие можно сразу после окончания строительства. При этом нет необходимости в тяжелой асфальтоукладочной технике;
- Универсальность – основное отличие строительства дорог методом укладки железобетонных плит. Укладывать плиты можно практически на любой грунт, чего нельзя сказать об асфальтировании. При использовании бетонных плит отпадает необходимость в подготовке основания;
- Экономия природных ресур
сов: асфальт (битум) производится из нефти, запасы которой уменьшаются, бетон (цемент) – из доступного известняка.
Чтобы получить качественные плиты дорожные 1ПШД 12 для покрытий городских дорог, в процессе производства необходимо учитывать и целый ряд других параметров, которые непосредственно влияют на характеристики бетона и готовых изделий: качество, состав, влажность, температура и прочие свойства компонентов, соблюдение последовательности их смешивания, качество и время перемешивания, использование соответствующей арматуры, введение необходимых добавок для получения желаемых характеристик, уплотнение бетона вибрированием.
Железобетонные дорожные плиты дорожные 1ПШД 12 для покрытий городских дорог изготавливают, в основном, с монтажными петлями. Реже изготавливают плиты с пазами для беспетлевого монтажа или отверстиями для цангового захвата.
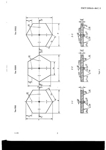
Плиты дорожные 1ПШД 12 для покрытий городских дорог должны удовлетворять требованиям ГОСТ 13015.0:
- по показателям фактической прочности бетона (в проектном возрасте, отпускной и передаточной);
- к качеству материалов, применяемых для приготовления бетона;
- к качеству арматурных и закладных изделий и их положению в плите;
- по маркам арматурной стали;
- по маркам стали для закладных изделий и монтажных петель;
- по отклонению толщины защитного слоя бетона до арматуры.
Плиты дорожные 1ПШД 12 для покрытий городских дорог не должны иметь наплывы на поверхности, превышающие 10-15 мм ни по глубине, ни по диаметру. Строго контролируется отсутствие трещин или их параметры, в случаях, когда их небольшое количество допускается. Допускаются лишь незначительные отклонения линейных размеров изделий.
Особые условия предъявляются также при хранении и транспортировке плит дорожных. Хранение и транспортирование плит должно производиться в рабочем положении. Плиты дорожные 1ПШД 12 для покрытий городских дорог следует хранить в штабелях, рассортированными по партиям. Высота штабеля при этом должна быть не более 2,0 м.Нижний ряд плит в штабеле следует укладывать по плотному, тщательно выравненному основанию на подкладки, расположенные у мест подъема плит. Толщина подкладок должна быть при грунтовом основании не менее 100 мм, а при жестком основании – не менее 50 мм.
Тщательное и точное соблюдение стандартов по изготовлению, хранению, отпуску и транспортированию изделий гарантирует максимально длительную эксплуатацию жби плиты дорожные 1ПШД 12 для покрытий городских дорог, призванных обеспечить безопасность и комфортное передвижение транспортных средств в условиях развития современного дорожного строительства.
В компании ГК “БЛОК” можно заказать плиты дорожные 1ПШД 12 для покрытий городских дорог, а так же проконсультироваться с нашими специалистами, подобрать требуемые конструкции железобетонных изделий. В нашем отделе продаж можно узнать заранее уточнить цену дорожных плит и рассчитать общую стоимость заказа. Компания ГК БЛОК осуществляет доставку плит дорожных по всей России прямо до объекта заказчика или на строительную площадку, если позволяет инфраструктура.
|
ГОСТ/Серия
|
ГОСТ 21924.0-84 |
|
Длина, мм
|
2320 |
|
Ширина, мм
|
2010 |
|
Высота, мм
|
180 |
|
Масса, тонн
|
1.65 |
|
Объем бетона, куб.м
|
0.66 |
|
Класс бетона
|
В30 |
|
Геометрический объем, м.куб
|
0.839376 |
|
Сталь, кг
|
24.02 |
|
Закладная 1
|
С23 |
|
Закладная 2
|
K13, K14 |
|
Закладная 3
|
П6 |
|
Закладная 4
|
Ф1 |
Как купить
Процесс покупки железобетонных изделий у нас прост и удобен. Следуйте этим шагам:
- Выбор продукции: Ознакомьтесь с нашим ассортиментом и выберите необходимые железобетонные изделия.
- Консультация: Свяжитесь с нашим менеджером для получения консультации по выбору продукции и уточнения всех деталей. Вы можете позвонить нам или написать на электронную почту.
- Оформление заказа: После согласования всех деталей оформите заказ. Менеджер поможет вам заполнить все необходимые документы.
- Согласование доставки: После оформления заказа наш менеджер свяжется с вами для согласования условий и сроков доставки.
- Оплата: Выберите удобный способ оплаты. Мы предлагаем несколько вариантов, включая безналичный расчет.
- Получение товара: После выполнения всех условий заказа, вы получите железобетонные изделия в назначенное время и по согласованному адресу. При получении подпишите акт приема-передачи.
Если у вас возникли вопросы на любом этапе покупки, не стесняйтесь обращаться к нашим менеджерам!
Оплата
Мы принимаем только безналичные платежи и работаем исключительно с юридическими лицами. Пожалуйста, ознакомьтесь с условиями оплаты ниже:
- Способ оплаты: Все расчеты производятся безналичным путем. Мы не принимаем наличные.
- Счет на оплату: После оформления заказа вам будет выставлен счет, который необходимо оплатить в срок, указанный в документе.
- Реквизиты: Все необходимые банковские реквизиты будут предоставлены в счете. Убедитесь, что все данные указаны правильно для успешного перевода.
- Подтверждение оплаты: После осуществления платежа отправьте нам подтверждение, чтобы мы могли оперативно обработать ваш заказ.
- Получение документов: После полной оплаты вы получите все необходимые документы, включая акт выполненных работ, товарные накладные и сертификаты на продукцию.
Мы работаем с НДС и предоставляем все необходимые сертификаты и документы. Все гарантии будут прописаны в договоре, что обеспечивает прозрачность и надежность сотрудничества.
Если у вас есть вопросы по поводу процесса оплаты, не стесняйтесь обращаться к нашим менеджерам за помощью!
Наша оперативность — ваше удобство. Мы гарантируем своевременную доставку железобетонных изделий, что является ключевым фактором для успешной реализации ваших строительных проектов. Доставка осуществляется прямо к вашему объекту с учетом всех стандартов качества.
Основные условия доставки:
• Выбор тарифа: Вы можете выбрать способ расчета стоимости доставки — почасовой или по зонам.
• Согласование: Менеджер свяжется с вами для уточнения деталей после оформления заказа.
• Время на погрузку: Комплектация товара занимает от 1 до 3 дней в зависимости от объема.
• Акт приема-передачи: Продукция передается по акту приема-передачи.
Тарифы на доставку:
Цены варьируются в зависимости от расстояния и региона. Все тарифы включают НДС. При неблагоприятных погодных условиях возможны небольшие изменения в стоимости.
География доставки:
Мы работаем по всей территории РФ и имеем 12 офисов и производств, чтобы обеспечить удобные условия для доставки.
Для точного расчета стоимости доставки обращайтесь к нашим менеджерам!

